Product Summary
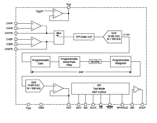
The TPIC8101DW is a knock sensor interface, which is a dual-channel signal processing IC for detection of premature detonation in combustion engine. The TPIC8101DW provides an electrical signal to the amplifier inputs. The sensed signal is processed through a programmable band-pass filter to extract the frequency of interest. The TPIC8101DW eliminates any engine background noise associated with combustion. The engine background noise is typically low in amplitude compared to the predetonation noise.
Parametrics
TPIC8101DW absolute maximum ratings: (1)Regulated input voltage: 0.3 V to 7 V; (2)Output voltage: 0.3 V to 7 V; (3)Input voltage: 0.3 V to 7 V; (4)DC input current: 2 mA; (5)DC input voltage: 14 V; (6)Thermal impedance junction to ambient: 120℃/W; (7)Continuous power dissipation: 200 mW; (8)Electrostatic discharge susceptibility: 2 kV; (9)Operating ambient temperature range: 40℃ to 125℃; (10)Storage temperature range: -65℃ to 150℃; (11)Lead temperature (soldering, 10 sec): 265℃.
Features
TPIC8101DW features: (1)Dual-Channel Knock Sensor Interface; (2)Programmable Input Frequency Prescaler; (3)Serial Interface With Microprocessor; (4)Programmable Gain; (5)Programmable Band-Pass Filter Center Frequency; (6)External Clock Frequencies up to 24 MHz - 4, 5, 6, 8, 10, 12, 16, 20, and 24 MHz; (7)Programmable Integrator Time Constants; (8)Operating Temperature Range -40℃ to 125℃.
Diagrams

| Image | Part No | Mfg | Description | ![]() |
Pricing (USD) |
Quantity | ||||||||||||
|---|---|---|---|---|---|---|---|---|---|---|---|---|---|---|---|---|---|---|
![]() |
![]() TPIC8101DW |
![]() Texas Instruments |
![]() Interface - Specialized Knock Sensor Interface |
![]() Data Sheet |
![]()
|
|
||||||||||||
![]() |
![]() TPIC8101DWG4 |
![]() Texas Instruments |
![]() Interface - Specialized KNOCK SENSOR INTERFACE |
![]() Data Sheet |
![]()
|
|
||||||||||||
![]() |
![]() TPIC8101DWR |
![]() Texas Instruments |
![]() Interface - Specialized Knock Sensor Interface |
![]() Data Sheet |
![]()
|
|
||||||||||||
![]() |
![]() TPIC8101DWRG4 |
![]() Texas Instruments |
![]() Interface - Specialized KNOCK SENSOR INTERFACE |
![]() Data Sheet |
![]()
|
|
||||||||||||
(China (Mainland))









