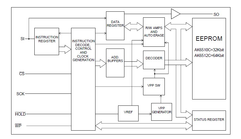
Product Summary
The AK6512CL is a 65536-bit, serial, read/write, non-volatile memory device fabricated using an advanced CMOS EEPROM technology. The AK6512CL has 65536-bits of memory organized as 8192 registers of 8 bits each. The AK6512CL can operate all function under wide operating voltage range: 1.8V to 5.5V. The charge up circuit for high voltage generation needed for write operations is integrated. The AK6512CL serial interface is compatible to a SPI bus. The AK6512CL has 6 instructions: READ, WRITE, WREN (write enable), WRDI (write disable), RDSR (read status register), and WRSR (write status register).
Parametrics
AK6512CL absolute maximum ratings: (1)Power Supply, VCC: -0.6 V to +6.5 V; (2)All Input Voltages with Respect to Ground, VIO: -0.6 V to VCC+0.6 V; (3)Ambient Storage Temperature, Tst: -65℃ +150℃.
Features
(1)Advanced CMOS EEPROM Technology; (2)Single Voltage Supply: 1.8V to 5.5V; (3)AK6510C: 32Kbits; 4096 x 8 organization; (4)AK6512C: 64Kbits; 8192 x 8 organization; (5)SPI Serial Interface Compatible; (6)Low Power Consumption 0.8μA Max. (Standby mode); (7)High Reliability Endurance: 1000K E/W cycles / Address ; (8)Data Retention: 10 Years; (9)Special Features 32 byte Page Write Mode; (10)Block Write Protection (Protect 1/4,1/2 or Entire Array) Automatic write cycle time-out with auto-ERASE; (11)Software and Hardware controlled Write Protection; (12)Self timed Programming Cycle: 5msec. Max.; (13)Ideal for Low Density Data Storage; (14)Low cost, space saving, 8-pin SSOP/SONW package
Diagrams

(China (Mainland))






