Product Summary
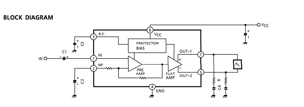
The TA8201AK is an audio power amplifier for consumer application. The TA8201AK is applying BTL system in which output coupling condenser and bootstrap condenser are not necessary and output 17W (Vcc=14.4V, BL=4Ω, THD=10%) can be obtained. The TA8201AK is suitable for car-audio power amplifier with high performance.
Parametrics
TA8201AK maximum ratings: (1) peak supply voltage (0.2 sec) VCC (surge) : 50V; (2) DC supply voltage VCC (DC) : 25; (3) Operating supply voltage VCC (opr) : 18V; (4) output current (peak) IO (peak) : 4.5A; (5) power dissipation PD: 15W; (6) operating temperature Topr: -30 to 85°C; (7) storage temperature Tstg: -55 to 150°C.
Features
TA8201AK features: (1) high power: POUT (1) =17W (Typ.) (Vcc=14.4V, f=1kHz, THD=10%, RL=4Ω, Pout (2) =14W (Typ.) (Vcc=13.2V, f=1kHz, THD=10%, RL=4Ω) ; (2) very few external parts; (3) built in protectory circuit thermal shut down, over voltage protectory (Typ. Vcc=24V) ASO protector (RL short, out to GND, out to VCC) ; (4) 7 pin small package; (5) operating supply voltage range: VCC=9 to 18V.
Diagrams
t=
| Image | Part No | Mfg | Description | ![]() |
Pricing (USD) |
Quantity | ||||
|---|---|---|---|---|---|---|---|---|---|---|
![]() |
![]() TA8201AK |
![]() Other |
![]() |
![]() Data Sheet |
![]() Negotiable |
|
||||
| Image | Part No | Mfg | Description | ![]() |
Pricing (USD) |
Quantity | ||||
![]() |
![]() TA8200AH |
![]() Other |
![]() |
![]() Data Sheet |
![]() Negotiable |
|
||||
![]() |
![]() TA8201AK |
![]() Other |
![]() |
![]() Data Sheet |
![]() Negotiable |
|
||||
![]() |
![]() TA8204 |
![]() Other |
![]() |
![]() Data Sheet |
![]() Negotiable |
|
||||
![]() |
![]() TA8205AH |
![]() Other |
![]() |
![]() Data Sheet |
![]() Negotiable |
|
||||
![]() |
![]() TA8207K |
![]() Other |
![]() |
![]() Data Sheet |
![]() Negotiable |
|
||||
![]() |
![]() TA8208H |
![]() Other |
![]() |
![]() Data Sheet |
![]() Negotiable |
|
||||
(China (Mainland))









